線性模組是一種直線傳動裝置,主要有兩種方式。一種是滾珠絲杠和直線導軌組成,另一種是用同步帶及同步帶輪組成。其使用范圍廣,安裝方便,精度高,以為廣大的用戶所接受!省去了自己制作直線運動的機構的具體環節。


結構
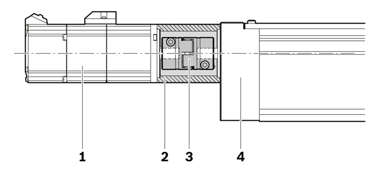
法蘭和聯軸器的結構
在所有帶滾珠絲杠傳動機構的功能模塊上,可通過法蘭和聯軸器安裝電機。法蘭用來連接功能模塊和電機并作為連軸器的外殼。通過聯軸器可將電機的驅動轉矩不扭轉地傳遞到功能模塊的驅動軸上。
我們的標準聯軸器可補償系統的熱膨脹。
1,電機
2,法蘭
3,聯軸器
4,功能模塊



機床、木工機械、激光切割等